3000 HOCHIKI style

Short Description:


Product Detail

Product Tags

Series HPS-SAH, HPS-SAK, HPS-DAH, HPS-DAH/S, HPS-DAK, HPS-DAK/S Manual Non-Coded Pull Station Standard Features

• Metal Construction

• Enclosed switch with glass rod (included)

• 10 Amps @ 120 VAC

• Available in: Single Action, Dual Action and Dual Action in Spanish (HPS-DAH/S)

• UL, FM, CSFM Listed

• Made in USA

Description

1

Hochiki America’s Models HPS series pull stations are available in six models:

• HPS-SAH single action

• HPS-SAK single action with key lock

• HPS-DAH dual action

• HPS-DAH/S dual action (Spanish)

• HPS-DAK dual action with key lock

• HPS-DAK/S dual action with key lock (Spanish)

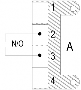
Each model is constructed of a solid die cast housing and comes in glossy red. The back switch plate is plated steel. The electrical switch is rated for 10 Amps @ 120 VDC normally open contact rating. All models are connected via terminal block connections.

Product Listing

Underwriters Laboratories: S2984

CSFM #: 7150-0410:162

1

Specification

1

Electrical Wiring

1

  • Previous:
  • Next:

  • Write your message here and send it to us